前风玻璃除雾试验房用于汽车装备的除雾系统,试验其除雾效果,以评价汽车的视野性能。试验房可以容纳被试车辆, 且能维持试验温度为-3 ℃ ±1 ℃。除雾出口气流速度为5~8m/s,停车时仅除雾系统满负荷工作时驾驶人头部位置噪声不大于65dB(A)。
相关试验标准:
GB 24552-2009 电动汽车风窗玻璃除霜除雾系统的性能要求及试验方法
GB 11555-2025 汽车风窗玻璃除霜和除雾系统技术规范
T/CCCM 7-2024 封闭驾驶室三轮摩托车玻璃安装、风窗玻璃刮水和洗涤系统、除霜和除雾系统技术规范
技术参数:
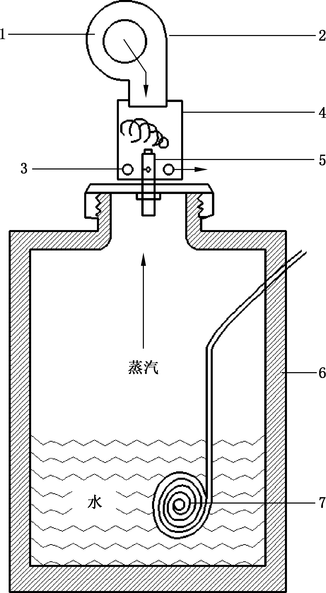
配套蒸汽发生器要求:
a) 容器的容量应不小于2.25 L;
b) 在-3 ℃ ±1 ℃ 的环境温度下, 沸点的热损失应不超过75 W;
c) 离心式风机在50 Pa 的静压时, 应有4.2 m3/h~6.0 m3/h 排量;
d) 蒸汽发生器的顶部应有6 个直径为6.3 mm 的蒸汽排放孔;
为什么要做除霜试验?
车室环境是驾乘人员安全与舒适的重要保证,由于车身保温性能的局限性,车室环境受风霜雪雨等气候影响和季节变换影响很大,“内热外冷”时室内外温差会造成前风窗玻璃窗内表面结雾,严重影响风窗玻璃可视性进而危害驾乘人员生命安全。
因此,前风窗玻璃除雾系统,能够确保在寒冷(潮湿)天气条件下恢复风窗玻璃的能见度。而前风玻璃除雾试验房则能模拟相应的环境,为前风玻璃除雾试验提供合适的环境,这也是GB11555标准中所要求的。
如有前风玻璃除雾试验房选型疑问,可以咨询环仪仪器相关技术人员。











